Pokaż wyniki od 1 do 1 z 1

Wątek: Nowe patenty Olympusa

  1. #1
    | OlyJedi Awatar gietrzy
    Dołączył
    Feb 2010
    Mieszka w
    Kielcach
    Posty
    5.013
    Siła reputacji
    107
    Moja galeria

    Nowe patenty Olympusa

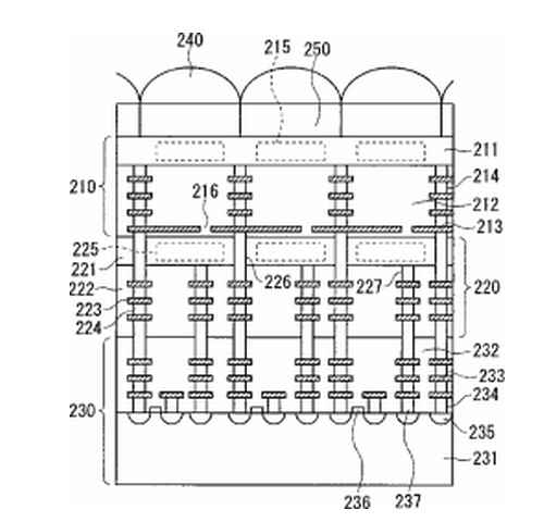
    Bardziej zaawansowany (dwuwarstwowy) fazowy autofokus.

    http://tinyurl.com/qh5prg4
    Ostatnio edytowane przez gietrzy ; 26.09.13 o 07:32
    Tak, słuchaj mój też to ma.
    Cholera pojechałam specjalnie do nich w sobotę, gdzie tam nawet nie zszedł na dół przywitać się z babką, tylko
    cały dzień Plejstejszyn.

Podobne wątki

  1. [Fotografuj.pl] Nowe firmware dla aparatów Olympusa
    By RSSBot in forum Co w sieci piszczy
    Odpowiedzi: 0
    Ostatni post / autor: 10.08.11, 06:40
  2. nowe obiektywy Olympusa
    By darkelf in forum Obiektywy 4/3
    Odpowiedzi: 90
    Ostatni post / autor: 31.05.09, 13:33
  3. Ciekawe patenty
    By C+ in forum Studio
    Odpowiedzi: 3
    Ostatni post / autor: 2.02.08, 13:29
  4. Nowe aparaty Olympusa
    By tomek s in forum Aparaty kompaktowe
    Odpowiedzi: 33
    Ostatni post / autor: 27.01.07, 09:40

Uprawnienia umieszczania postów

  • Nie możesz zakładać nowych tematów
  • Nie możesz pisać wiadomości
  • Nie możesz dodawać załączników
  • Nie możesz edytować swoich postów
  •  
 
Właściciel: FOMAG Sp. z o.o., Gdansk, 80-137 ul. Starodworska 1, KRS 0000341593, www.fomag.pl

Serwis wykorzystuje pliki cookies w celach reklamowych, statystycznych i do personalizacji stron. Możesz wyłączyć używanie plików cookies w ustawieniach przeglądarki internetowej jednak może to utrudnić korzystanie z serwisu! Więcej informacji w Polityce prywatności.