Pokaż wyniki od 1 do 3 z 3

Wątek: Nowa lustrzanka Panasonica

  1. #1
    | OlyJedi Awatar Wieprz
    Dołączył
    Feb 2008
    Mieszka w
    Wwa
    Posty
    1.629
    Siła reputacji
    120
    Moja galeria

    Nowa lustrzanka Panasonica?

    Redukcja drgań i brak filmów.

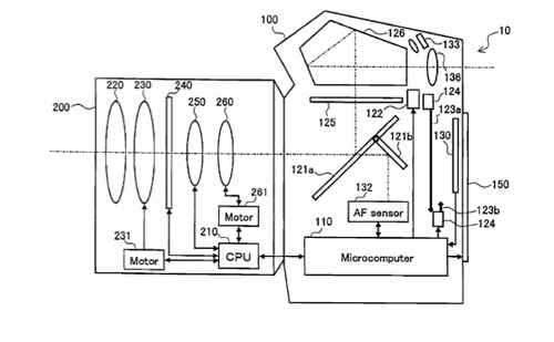
    http://www.freepatentsonline.com/y2009/0303374.html

    Kliknij obrazek, aby uzyskać większą wersję

Nazwa:	199408.jpeg
Wyświetleń:	298
Rozmiar:	34,5 KB
ID:	27312
    Ostatnio edytowane przez Wieprz ; 18.12.09 o 11:56

  2. #2
    | OlyJedi
    Dołączył
    Jun 2008
    Mieszka w
    okolice Rybnika
    Posty
    1.025
    Siła reputacji
    21
    Moja galeria
    To tylko patent, przeczytaj czego dotyczy - przełączania automatycznego LiveView na optyczny wizjer. Ot, mogli sobie zastrzec na zapas.
    Moja gra Aether Collector niedługo wychodzi na Steam - http://magory.net/aether

  3. #3
    rodzyn
    Gość
    Nie sa w stanie nadążyć z u4/3 i zysk na U mają pewnie większy, niż przy lustrach- więc są zajęci swoją częścią U -tortu i nie bardzo widać tu miejsce na nowe lustro.

Podobne wątki

  1. Nowa lustrzanka SONY R2
    By sliwka in forum Pozostali producenci
    Odpowiedzi: 4
    Ostatni post / autor: 5.04.06, 16:59
  2. Nowa lustrzanka Olympusa E-300
    By MichelCat in forum E-System
    Odpowiedzi: 5
    Ostatni post / autor: 4.10.04, 00:31

Tagi dla tego wątku

Uprawnienia umieszczania postów

  • Nie możesz zakładać nowych tematów
  • Nie możesz pisać wiadomości
  • Nie możesz dodawać załączników
  • Nie możesz edytować swoich postów
  •  
 
Właściciel: FOMAG Sp. z o.o., Gdansk, 80-137 ul. Starodworska 1, KRS 0000341593, www.fomag.pl

Serwis wykorzystuje pliki cookies w celach reklamowych, statystycznych i do personalizacji stron. Możesz wyłączyć używanie plików cookies w ustawieniach przeglądarki internetowej jednak może to utrudnić korzystanie z serwisu! Więcej informacji w Polityce prywatności.