To co? Zdjęcia są wiarygodne.
Wersja do druku
Nie przypomina poprzednich GX w niczym ew. jakaś boczna wykastrowana linia.
Optyczni już się bawią GX80
http://www.optyczne.pl/index.php?art=489
W Japonii ten aparat nazwali GX7 Mark II.
W necie szaleje jeszcze GX85 :)
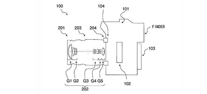
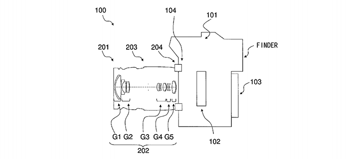
12-100mm f/4.0-5.8 od Panasa, póki co na rycinach patentowych
Jak ktoś się czuje na siłach to
http://www.freepatentsonline.com/9335526.html
Cały czas się zastanawiam co ich wszystkich pogło. Gdzie jest 100 makro się pytam ?